Honda ha depositato diversi progetti per una moto ibrida con un motore a benzina e ben due elettrici. Non è dato sapere se vedrà mai la luce, ma è sicuramente interessante dare uno sguardo dietro alle quinte del colosso giapponese.
Le quattro ruote hanno conosciuto un periodo di transizione tra benzina ed elettrico in cui sembrava che le auto ibride potessero sommare i pregi di entrambi i sistemi. Poi si è capito che spesso ne sovrapponevano piuttosto i difetti, e ormai i produttori puntano diretto sulle batterie.
Nelle moto il discorso è differente: il peso di entrambi i sistemi sembra non essere vantaggioso, sia per efficienza che per guidabilità. Questo però non è un assoluto categorico e non significa che negli ultimi anni nessuno abbia intrapreso questa strada. Solo per citarne alcuni, ci hanno provato: Honda (con il PCX), NIU (con YQi), Piaggio (con l’mp3), etc…
Più recentemente Kawasaki ha svelato a EICMA una moto ibrida sulla quale sembra puntare parecchio, almeno lato marketing. Anche Honda però sta lavorando a progetti di moto ibride. Lo testimoniamo i numerosi brevetti depositati nel 2021 e resi pubblici solo alcuni giorni fa.
Come è fatta la Honda ibrida?
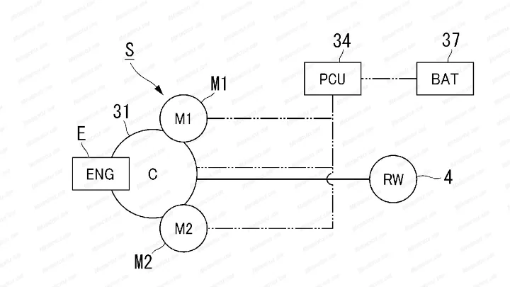
Sono addirittura 11 versioni con variazioni e migliorie, ma sostanzialmente l’idea di fondo rimane la stessa. Si tratta di una moto con un motore pluriciclindrico a benzina affiancato da due propulsori elettrici brushless.
La PCU (Power Control Unit) gestisce la potenza erogata dal gruppo termico (ENG) e dai due motori elettrici (M1 e M2) che viene trasferita alla ruota posteriore (RW). In base alle situazioni i tre motori lavoreranno singolarmente a coppie o tutti insieme. L’obiettivo è la massima efficienza in ogni condizione. Infatti il vantaggio di avere due motori elettrici è quello di utilizzarne uno come propulsore e l’altro come generatore per ricaricare le batterie. I brevetti sembrano indicare una trasmissione con variatore, ma nulla esclude un’eventuale adozione del cambio.

Tecnicismi a parte, Honda punta sull’ibrido? Impossibile dirlo, certamente per un colosso di queste dimensioni lasciare una strada inesplorata è sempre un errore e quindi è normale che la Casa giapponese stia studiando anche soluzioni di questo tipo.
– Iscriviti a Newsletter e canale YouTube di Vaielettrico –
Fonte: Motorcycle.com



capisco che nessuno ne sappia molto, ma io davvero non comprendo come un motore elettrico, alimentato da energia elettrica (o almeno immagino), possa essere utilizzato per generare energia elettrica. a meno che non venga alimentato ma venga fatto girare al “contrario” continuamente, ma in questo caso non saprei se chiamarlo motore…
Probabilmente è proprio così, visto che l’articolo riporta che i due motori sono usati “uno come propulsore e l’altro come generatore” 🙂
Il motore che funge da generatore lo si usa esclusivamente durante le decelerazioni… Sarà ottimizzato come generatore e non come motore. L’altro lo si usa solo come motore e non come generatore. La cosa avrà evidentemente un senso (inteso come vantaggio rispetto ad un singolo motore che faccia entrambe le cose come in qualsiasi BEV) rispetto all’aumento di peso/costo/complessità/ingombro, se l’hanno brevettato, escludendo che si tratti solo di un giochino di marketing (come il Qashqai e-power che è un nonsenso nei consumi e nei costi).