Tesla potrebbe presto aggiungere un ulteriore livello tecnologico ai suoi futuri veicoli: l’integrazione diretta di antenne satellitari, invisibili e protette, nel tetto trasparente alle radiofrequenze in collegamento con Starlink, la rete satellitare di SpaceX in mano ad Elon Musk.
La possibile svolta si deduce da un recente brevetto della casa automobilistica americana, dove si descrive un tetto per le vetture di nuova concezione, realizzato con materiali polimerici “trasparenti” alle radiofrequenze.

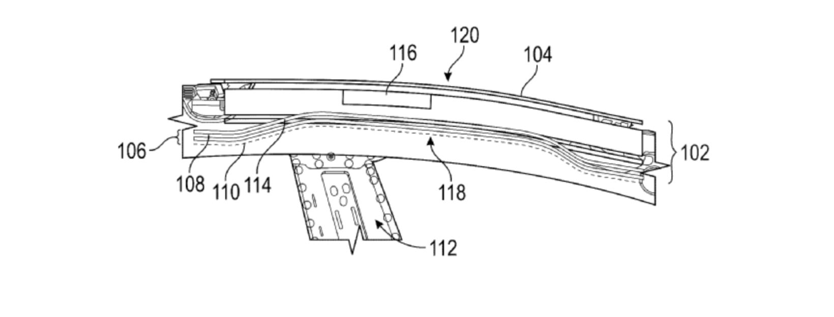
Un tettuccio radio-trasparente
Secondo il brevetto, il tetto sarebbe composto da una struttura multistrato basata su materiali come policarbonato o ASA (acrilonitrile stirene acrilato). Questi polimeri sono già noti nell’industria per la loro resistenza meccanica e agli agenti atmosferici, ma qui verrebbero sfruttati soprattutto per una caratteristica chiave: la trasparenza alle radiofrequenze. In questo modo, l’antenna potrebbe essere integrata direttamente nella struttura del veicolo, totalmente invisibile e protetta, senza appendici esterne o moduli aggiuntivi.
I materiali tradizionali utilizzati per i tetti, come vetro trattato e metallo, attenuano in modo significativo i segnali satellitari, rendendo complessa l’installazione di antenne all’interno dell’abitacolo. Tesla propone quindi di superare questo limite, ripensando la struttura stessa del tetto, attraverso l’impiego di materiali in grado di lasciar passare le onde radio senza compromettere sicurezza e rigidità.

Starlink in auto: quanto è utile?
Il brevetto non menziona esplicitamente Starlink, ma il collegamento è difficile da ignorare. SpaceX e Tesla condividono la stessa regia industriale, e Starlink è oggi una delle poche infrastrutture satellitari in grado di offrire connessioni a banda larga con bassa latenza, anche in aree remote. L’idea di una Tesla capace di passare automaticamente dalla rete cellulare 4G o 5G a una connessione satellitare, in base alla copertura disponibile, rappresenterebbe un’evoluzione significativa per la connettività di bordo.
Dal punto di vista funzionale, però, l’utilità di una connessione satellitare permanente va ridimensionata. I veicoli non hanno bisogno di Starlink per guidare, e la guida autonoma non può basarsi su una connettività esterna, considerata troppo variabile e non sufficientemente affidabile per funzioni critiche. Questo aspetto è particolarmente rilevante anche nel contesto normativo europeo, dove la sicurezza funzionale resta un requisito centrale per qualsiasi sistema avanzato di assistenza alla guida.

Ci sono tuttavia scenari in cui una simile tecnologia potrebbe avere senso. Chi viaggia spesso in zone isolate, come aree montane, regioni rurali o contesti extraurbani con scarsa copertura cellulare, potrebbe beneficiare di una connessione sempre disponibile per navigazione, infotainment, aggiornamenti software e servizi digitali. In prospettiva, una rete satellitare potrebbe anche supportare servizi avanzati legati alla gestione energetica o al monitoraggio remoto del veicolo, temi cari a un ecosistema come quello di Tesla.
Resta poi la questione economica. Attualmente Tesla sovvenziona in parte i costi della connettività cellulare inclusa nei suoi veicoli. L’adozione di una soluzione satellitare integrata potrebbe modificare questo equilibrio, spostando i costi verso un’infrastruttura proprietaria o aprendo a nuovi modelli di abbonamento. Aspetto tutt’altro che secondario, vista la sensibilità dei consumatori ai costi ricorrenti dei servizi digitali.
Al momento solo ipotesi
Come spesso accade, però, un brevetto non equivale a un prodotto imminente. Tesla deposita regolarmente soluzioni tecniche che non arrivano necessariamente alla fase di commercializzazione. L’idea di un tetto “radio-trasparente” resta quindi, per ora, un esercizio di visione industriale. Ma conferma un punto chiave: la connettività è sempre più centrale nella strategia di Tesla, e l’integrazione tra automotive, spazio ed energia continua a essere uno dei tratti distintivi dell’approccio di Elon Musk.
LEGGI anche: Digitale & batterie: se qualcosa va storto nei “software defined vehicle”… e guarda il VIDEO

