Monopattino elettrico Polaris, l’azienda americana ci ha preso gusto e brevetta questo quattro ruote che segue il mezzo a lavoro Ranger.
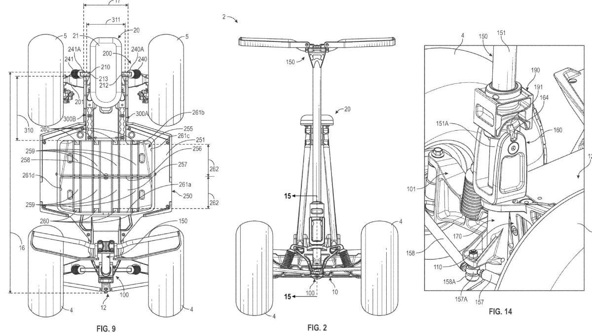
Ci ha preso gusto la statunitense Polaris che mette nero su bianco un monopattino elettrico a quattro ruote molto indicato per il fuoristrada, ma che ha grande potenziale anche nella vita di tutti i giorni. La disposizione di base è quella di un normale monopattino largo con una pedana, un aggancio per aggiungere un sedile e il piantone del manubrio. Ma è nel sostegno delle ruote che si trovano le idee più interessanti.
Monopattino elettrico e mezzo da carico
Infatti si nota subito che le sospensioni sono completamente indipendenti tra loro e sono presenti su tutti e quattro gli angoli. La configurazione ricorda piuttosto da vicino il lavoro fatto su Ranger di un paio di anni fa. Mezzo quello, vale ricordarlo, che montava un motore Zero. Per quanto riguarda la dotazione delle gomme non si nulla di preciso, ma dai disegni si nota come gli pneumatici siano piuttosto alti e grossi. Quindi va bene il trasporto quotidiano, ma qui c’è materiale da fuoristrada soprattutto se si opterà per una tassellatura decisa. Il sito RideApart che per primo ha pubblicato i disegni qui di seguito ci vede un mezzo capace di muoversi anche sui terreni sabbiosi.
Sotto la pedana principale c’è una batteria rimovibile che consente di piegarla tanto da poter riporre e trasportare il quadriciclo più facilmente. Anche la configurazione del manubrio è regolabile e può ruotare in avanti e lateralmente tramite un giunto a U alla base. Per quanto riguarda il sedile questo è regolabile e può essere spostato in avanti, indietro, su e giù, nonché rimosso completamente. Particolare non secondario perché il monopattino può diventare un mezzo da carico con motore. Infatti, come si evince dal progetto, lo scooter è dotato di un “gruppo di sollevamento” per il trasporto di oggetti più pesanti. Tanto da far supporre a qualcuno che potrebbe essere utilizzato come spazzaneve elettrico.
La potenza si annuncia ultra
[embedyt] https://www.youtube.com/watch?v=ZZ6LQn0yycU[/embedyt]
In questo momento non abbiamo notizie su una eventuale produzione in serie del monopattino elettrico che può diventare tanto altro a marchio Polaris. Di sicuro possiamo aspettarci grosse potenze e costi non esattamente da discount. Basti ricordare che il Ranger un paio di anni fa veniva tra i 25mila e i 30mila dollari. Aveva in entry level un pacco batteria da 14,9 kWh e un’autonomia fino a 73 km. Mentre con l’allestimento Ultimate si arrivava a 29,8 kWh di capacità della batteria e un’autonomia fino a 128 km. Particolare non di poco conto, il mezzo in questione venne esaurito un pre-vendita e non si hanno notizie di lamentele a quasi 2 anni dalle consegne.







Quanto costa
ma come si può scrivere una cosa del genere?
uno che pubblica un articolo dovrebbe quantomeno prendere la definizione dell’oggetto prima di ricamarci un articolo
definizione di monopattino:
Giocattolo costituito da una stretta pedana munita di due ruote, di cui quella anteriore orientabile mediante un manubrio; il movimento è conferito mediante spinte successive di uno dei piedi a terra, mentre l’altro poggia sulla pedana.
ok che si possa fare elettrico “e già si potrebbe entrare in polemica” , ma definire “monopattino” un veicolo “o giocattolo” a 4 ruote è quantomeno fuori luogo.