Honda ha aggiornato una serie di brevetti per una moto elettrica delle dimensioni della Grom. Il dettaglio più curioso è uno strano foro al centro del faro anteriore.
Tutti i brand stanno lavorando su diversi progetti di moto elettriche. Honda non fa certo eccezione. Già nel 2021 era spuntato il progetto di una piccola moto a zero emissioni grande circa come una Grom. Un veicolo quindi pensato per spostarsi in città, ma pensato per chi vuole distinguersi dagli altri scooteristi. Un target azzeccato per le moto elettriche e un campo in cui si stanno muovendo diversi brand (Zero ad esempio).
Sono il genere di moto che Honda probabilmente inserisce nella categoria “Fun”. Secondo il piano presentato proprio dal colosso giapponese, tre dei dieci veicoli elettriche che lancerà sul mercato entro il 2025 saranno proprio “Fun”.
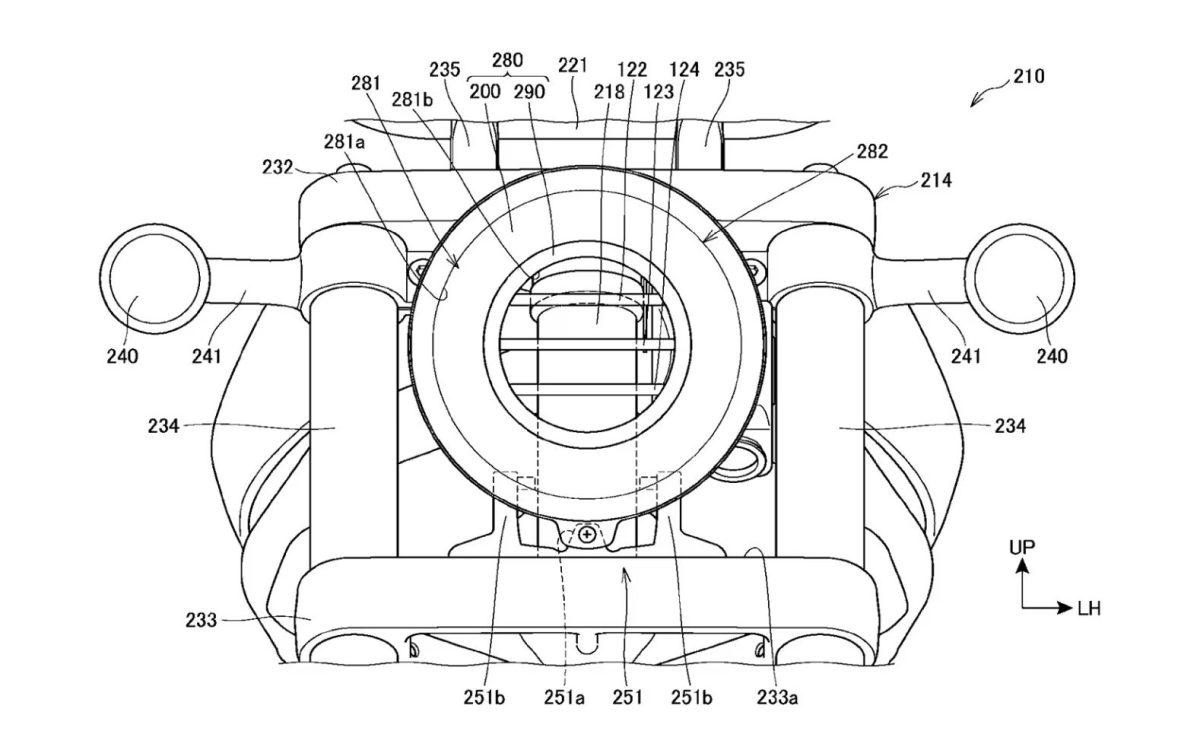
Il progetto mostra come Honda abbia ripensato completamente il concetto di moto e non semplicemente inserito componentistica elettrica e batteria all’interno di un modello termico. Nella parte centrale si trova infatti il box batteria realizzato in metalli leggeri o materie plastiche rinforzate in carbonio. La cassa contiene anche tutte le componenti elettroniche e nella parte anteriore è direttamente fissata la forcella. Il sistema di ammortizzazione scarica la maggior parte delle forze sulla parte centrale del telaio (il box batteria). Inoltre questa disposizione delle componenti permette di ricavare uno spazio di stivaggio sotto alla parte anteriore della sella. Il motore è alloggiato posteriormente con l’albero d’uscita concentrico al perno del forcellone e la trasmissione (probabilmente a cinghia) è contenuta proprio all’interno del monobraccio.
La novità appena brevettata però riguarda il faro: un faro tondo con un buco al centro. L’apertura ha una doppia funzione di raffreddamento. Abbassa la temperatura dell’anello LED e permette al flusso d’aria di raggiungere il box batteria. Per svolgere al meglio questa funzione sono state inserite nel progetto anche delle lamelle orizzontali per indirizzare l’aria.– Iscriviti alla Newsletter e canale YouTube di Vaielettrico.it –
Fonte: cycleworld.com


Un’idea vecchia, presa da tanti modelli di auto che già lo fanno (il raffreddamento del led però non si può sentire, il led non scalda …). Fa sicuramente tanta scena e su una moto il suo scopo è quello e basta …
/// il led non scalda \\\ Beh dipende, se è potente scalda eccome e questo rischia di farlo durare meno se il calore non viene smaltito come si deve… Rimanendo in campo automobilistico, visto che i proiettori LED al momento sono costruiti in blocco unico, la loro sostituzione rimarrá molto onerosa finché non li renderanno piú “scomponibili”, vedi articoli come https://www.adac.de/rund-ums-fahrzeug/ausstattung-technik-zubehoer/licht-und-beleuchtung/led-leuchten/