Spuntano i disegni di quella che potremmo chiamare una Honda CB1000R elettrica. Tanto in comune con la sorella maggiore, ma anche un enorme pacco batterie e ricarica in DC.
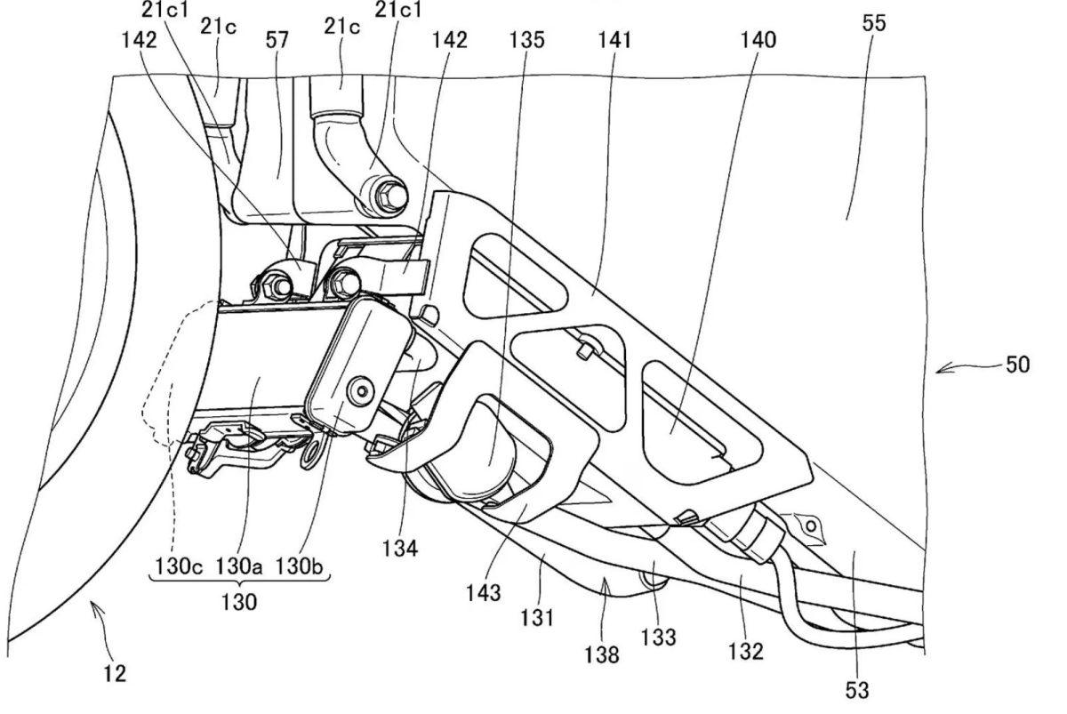
Honda programma di avere in gamma entro la fine del 2025 una decina di due ruote elettriche. Siamo a ottobre del 2024 e l’obbiettivo sembra ancora molto lontano. Di tanto intanto però qualcosa si muove e nei giorni scorsi è spuntato un brevetto piuttosto interessante. Innanzitutto per le dimensioni. Sì perché di solito siamo abituati a 125 o 300 cc riviste in salsa elettrica, mentre, dai progetti, vediamo una moto decisamente più grande. Sono parecchie le somiglianze con la CB1000R a partire dal faro e dalle sospensioni con la forcella e il Pro-Link con braccio oscillante laterale al posteriore. Persino la parte superiore, il “serbatoio” ricorda parecchio quella della CB1000R.

Al di sotto però vediamo quattro pacchi batteria davvero molto grandi. Ormai abbiamo imparato che batterie capienti si traducono in prestazioni e autonomia superiori, ma anche in tempi di ricarica più lunghi. Dai disegni una piacevole sorpresa in questo senso: la ricarica in corrente continua. Questo permetterebbe di ricaricare in 15 minuti anche una batteria enorme (supponiamo esagerando da 30 kWh).

Tornando alle batterie, ovviamente non sono rimovibili e sono montate nella parte più bassa della moto, dove solitamente troviamo il motore. Il propulsore della Honda elettrica invece è alloggiato appena sotto il sedile del pilota e una serie di ingranaggi porta la trasmissione ad essere concentrica con il perno del braccio oscillante e collegata a una cinghia che la collega alla ruota.

Motore e batteria sono raffreddati a liquido grazie a un piccolo radiatore posizionato dietro alla ruota posteriore.
Quando vedremo l’Honda elettrica in strada?
In strada forse non la vedremo mai, non con questo aspetto almeno. Ma questi disegni ci mostrano l’indirizzo che Honda sta prendendo e soprattutto sono un concentrato di brevetti e tecnologie che la casa giapponese sta sviluppando e sicuramente anche testando. Di certo se Honda vuole mantenere il calendario promesso molto presto avremo grandi novità.
Fonte: Cycleworld.com








mi affascinano i disegni tecnici, qui guardavo il motore spostato sopra (se ho capito il disegno) un po’ come le moto Energica, e lo spazio abbondate lasciato i leveraggi progressivi della sospensione
il motore gli resta un po’ lontano dall’asse del pignone catena, non basta a collegarli una coppia di inganaggi, e in figura 14, il componente numero 32, sembra (?) un box che contiene una trasmissione a cinghia o a catena e tenditore, a collegare l’asse del motore e l’asse del pignone
su moto leggere ed economiche, altro tipo di suo, invece sacrificano l’efficacia della sospensione e montano il motore direttamente solidale al forcellone posteriore (vicino al fulcro sospensione per non esagerare con le masse non sospese, ma un po’ aumentano, e pedono anche i leveraggi progressivi), e potrebbe avere un senso su alcune tipogie, costi di produzione bassi; questa è una Lojo Samurai:
https://www.electricmotornews.com/wp-content/uploads/2024/08/lojo_samurai_moto_elettrica_electric_motor_news_01-678×381.jpg