Non è da escludere che ad EICMA 2025 CFMoto sveli un concept di una sportiva elettrica, Nelle ultime settimane infatti ha depositato i brevetti per una stradale a zero emissioni.
CF Moto, marchio cinese già noto per naked ed enduro a benzina è sempre più vicina all’elettrico. Alcuni brevetti recentemente depositati mostrano una futura sportiva a batteria, con soluzioni tecniche dedicate e un design che richiama la 675SR-R endotermica (foto sopra). Non si tratta del primo passo di CF Moto nell’elettrico: il marchio aveva già svelato propio ad EICMA una offroad a batteria che ci era parsa in avanzato stato di sviluppo.
Come sarà la sportiva elettrica di CFMoto?
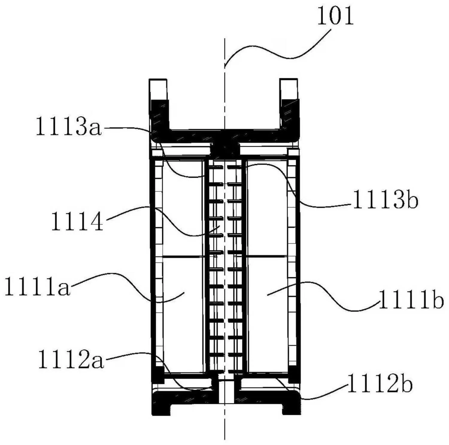
Il telaio è stato sviluppato per ospitare motore elettrico e pacco batterie senza sacrificare la ciclistica. Le linee aggressive tipiche della casa nascondono un raffinato gioco d’incastri e svelano come potrebbe essere la disposizione dei diversi componenti. L’elettronica troverà posto dove solitamente è alloggiato il serbatoio, nella parte alta centrale. Sotto, all’interno del telaio c’è un grande spazio per le batterie che saranno affiancate e verticalmente. Questo, potrebbe favorire anche un sistema di sgancio, ma se i pacchi saranno estraibili dipenderà anche dalle dimensioni delle batterie. Il motore è in posizione posteriore, probabilmente con il pignone disposto in modo coassiale al perno del forcellone.
Prestazioni e autonomia
Ovviamente non ci sono ancora dati su autonomia, prestazioni o tempistiche di lancio, ma il solo deposito dei disegni conferma che l’azienda intende allargare la propria offerta anche all’elettrico. Come detto, speriamo di vedere anche solo il concept ad EICMA 2025.








